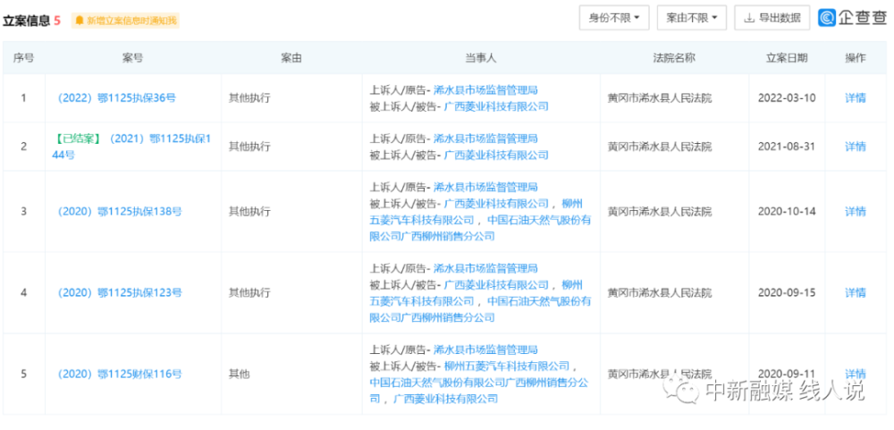
防骗网讯:近日,据企查查显示,广西菱业科技有限公司被浠水县市场监督管理局申请向湖北省黄冈市浠水县人民法院财产保全。案号为(2022)鄂1125执保36号。
值得注意的是,2020年9月11日—2021年8月31日,被告还包括广西菱业科技有限公司,柳州五菱汽车科技有限公司,中国石油天然气股份有限公司广西柳州销售分公司。
2020年期间公布的裁定书在中国裁判文书网均显示:不公开理由:人民法院认为不宜在互联网公布的其他情形。
而据天眼查显示,广西菱业科技有限公司成立于2017年11月28日,注册资本为1000万元,何顺明担任法人。微信公众号“精益养车”以及微博名为“精益车服”。
对外投资包括关爱之家科技服务有限公司,法人为龙红成,股东有广西菱业科技有限公司、北京中龄科技集团有限公司、中科烯创科技发展有限公司、北京乾益企业管理中心(有限合伙)、北京星河互联文化发展中心(有限合伙)、广西菱耀科技有限公司、广西精益数字科技有限公司。
据相关资料显示,在精益车服平台,只要消费产品即可成为会员(会员分为普通会员和VIP会员),选购VIP注册礼包成为VIP会员后,就可以享有以下权益:爱车保养的4到7折;商城的活动优惠;以及精益车服产品的全国销售权。此外,精益车服有两项关键业务:加盟店运营和产品销售,主营业务为汽车保养套餐。精益车服制定产品销售政策如下:
首先VIP会员想要销售产品,他就要从经销商那里取得产品,精益车服的产品不用自提或者囤货,用提货卡即可进行批发,也就是说VIP会员可以从经销商那里直接获得提货卡进行零售;VIP会员有两种零售方式,一种是直接零售,另一种是通过组建销售渠道的方式进行产品的零售,不管是哪种零售手段,零售者都可以获得零售奖励。当VIP会员通过直接零售或者组建销售渠道零售,产品销售业绩不低于两万,并且直接零售产品不低于五套的时候,他就可以申请进入经销商体系,获得经销商的待遇。
值得一提的是,去年据相关媒体报道题为《关爱之家与精益车联养车侠商务政策合规性第三方评估论证会纪实》一文中写道,2021年7月12日,关爱之家 & 精益车联养车侠商务政策的合规性召开评估论证会在北京泰富酒店召开。根据中立、客观、权威的原则,会议邀请了中国政法大学终身教授、行政法学泰斗应松年、原全国人大常委会法工委刑法室副主任黄太云、中国人民大学法学院教授张新宝作第三方评估。
文中还提到,关爱之家 & 精益车联养车侠业务经营合法合规,采用的商务政策不涉及拉人头、收取入门费、团队计酬,遵守了《禁止传销条例》等国家禁传方面的规定。
那么,广西菱业科技有限公司为何会被异地市场监督管理局申请冻结账户呢?专家论证为何要提商务政策是否涉嫌传销?对此,本网将持续关注。



